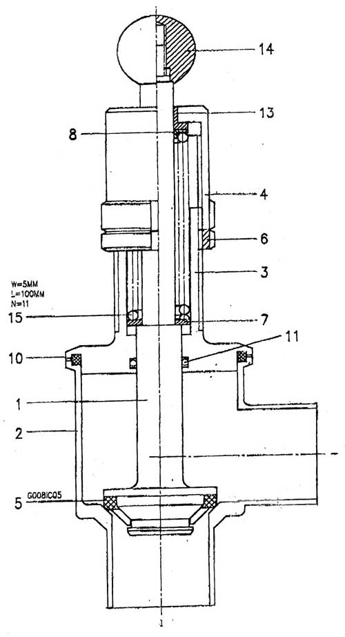
Запобіжний клапан


Запобіжний клапан з кінцями різьблення за стандартом DIN 11251
Для подачі рідин та регулювання верхнього (граничного) тиску ємності під час наповнення.

Матеріал
нержавіюча сталь AISI304 для всіх деталей, що входять в контакт з хімічно активним продуктом.
Можливість регулювання тиску
від 0.3 до 7 Бар для рідин та від 0.1 до 10 Бар для газів.
Робоча температура
MAX 80°С для рідин
Мах 120 ° С для газів.
Стандартне з'єднання
за стандартом DIN 11251 (Молочне з'єднання)
Інші з'єднання
на замовлення (фланцеве, приварне або BS, RJT, SMS, IDF)


Запобіжний клапан
Запобіжний клапан

Консультації по телефону

Зв’яжіться з нами і ми відповімо на всі ваші питання

Телефони

Мессенжери

WhatsApp: +380 (50) 249-29-29
Telegram: +380 (50) 249-29-29
Viber: +380 (50) 249-29-29

Адреса

Україна, 65020
м. Одеса,
вул. Тираспольска 16/21

https://krani.odessa.ua

odessergey@gmail.com