Поршневий пневмоклапан


Можливе постачання додаткових модифікацій пневматичних клапанів на замовлення!

Поршневі пневмоклапани

AISI 316 Корпус
Висока якість
Компактність

Застосування
Хімічна промисловість
Фармацевтична промисловість
Харчова промисловість
Водопостачання
Лакофарбові заводи
Очисні споруди
Пар
Бензин, скраплений газ
Кислоти
Текстильна промисловість
Нейтральні гази 

Поршневі пневмоклапани
Поршневі пневмоклапани

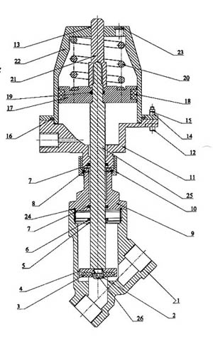
1. Корпус
2. Гайка
3. Уплотнение
4. Держатель уплотнения
5. Уплотнение
6. Уплотнение стержня
7. Уплотнение
8. Уплотнение
9. Часть корпуса
10. Гайка
11. Часть поршня
12. Винт
13. Шайба
14. Гайка гровер
15. Гайка
16. Цилиндрическое уплотнение
17. Поршень
18. Уплотнение поршня
19. Уплотнение штока
20. Пружина
21. Индикатор
22. Цилиндр
23. Фильтр
24. Сальник
25. Стержень
26. Шайба

Поршневі пневмоклапани

Пневматичні прохідні керовані поршнем клапана, нормально закриті PVD серії

Переваги клапанів T-PVD
Менший перепад тиску ніж у кульових кранів
Малий час відкривання-закривання
Застосовуються для агресивних та небезпечних середовищ
Легкий ремонт

Поршневі пневмоклапани

Корпус: нержавіюча сталь
Розміри: 1/2 "...2"
Робоча температура: -30 °C/180 °C
Подача повітря, що управляє: 5-6 bar
Робочий тиск: 0....16 bar
Ущільнення: PTFE (на вимогу VITON, EPDM)
Напрямок потоку: нижче ущільнення
Функція: нормально закрита (NC)
З'єднання повітряного клапана: 1/4" G
Керуючий клапан: 1/4" - 3/2 (TGM 108.4)

Консультації по телефону

Зв’яжіться з нами і ми відповімо на всі ваші питання

Телефони

Мессенжери

WhatsApp: +380 (50) 249-29-29
Telegram: +380 (50) 249-29-29
Viber: +380 (50) 249-29-29

Адреса

Україна, 65020
м. Одеса,
вул. Тираспольска 16/21

https://krani.odessa.ua

odessergey@gmail.com